产品介绍:

一、概述
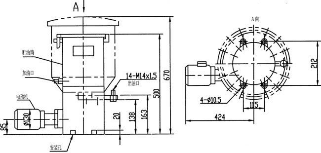
DDRB-N(原ZB)型多点润滑泵适用于润滑频率较低,润滑点在50点以下,公称压力为31.5MPa的多线式中小型机械设备集中润滑系统中,直接或通过单线分配器向各润滑点供送润滑脂的输送供油装置。特别适用于冶金、矿山、重机、港口运输建筑等单机设备。
二、性能参数
|
出油口数 |
公称压力Mpa |
每口给油量ml/次 |
给油次数次/min |
贮油容积L |
电动机 |
重量 |
|
|
功率(kw) |
电压(V) |
||||||
|
1~14 |
31.5(N) |
1.8;3.5 |
22 |
10 |
0.25 |
380 |
43 |
使用介质为锥入度不低于265(25℃,150g)1/10mm的润滑脂或粘度等级大于N68的润滑油,适用于工作环境温度为-20~+80℃。
三、外形尺寸
四、型号说明
五、使用要领
1、润滑泵应安装在便于检查、调整和拆洗方便的地方,并用地脚螺钉坚固,工作场地应无有害气体的侵蚀。
2、该系列润滑泵为室内安装型,在室外和环境恶劣的场合使用时,必须采取防护措施。
3、必须使用干净的润滑脂,因为含有杂质的润滑剂往往是泵和系统产生故障的主要原因。向贮油筒内补充润滑剂必须使用加油泵从电动润滑泵补脂口加入。泵在首次充填润滑脂前,最好先加些润滑油,因为润滑油流动性好,会充满所有的部位,有利于排除空气。
4、给油口数可在1~14范围内任意选择,根据设备需要不用的压油泵元件可以自行拆下,螺孔用M20×1.5螺塞封堵即可。
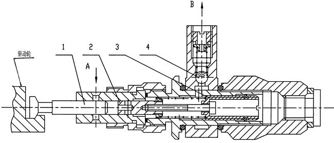
5、给油量的调整,调节螺套的位置即可获得,螺套位置左移供出油量减小,螺套位置右移供出油量增大。
1—工作活塞2—控制活塞3—调节螺套4—单向阀
六、常见故障处理
|
故障现象 |
故障原因 |
排除方法 |
|
泵的输出压力升不上去 |
①压力表损坏; ②贮油器和配管中进入空气; ③单向阀失灵; ④主管路有泄漏; ⑤使用时间很长,柱塞与套过度磨损。 |
①更换新的压力表; ②排除空气; ③清洗单向阀; ④检查主管路; ⑤更换新零件。 |
|
泵的输出压力急剧上升 |
①管路阻塞; ②分配器动作不良。 |
①检查管路; ②观察分配器动作情况。 |